Кратное описание технологического процесса - производство стирола из этилбензола
Стирол является сырьем для производства большого количества пластмассовых изделий и синтетического каучука. Стирол представляет собой ароматический углеводород (С6Н5СН = СН2), наличие двойной связи с молекуле которого определяет его способность к полимеризации. Получают стирол чаще всего путем дегидрирования этилбензола (при температуре 650 оС) в присутствии катализатора в виде окислов некоторых металлов.
Реакция дегидрирования имеет следующий вид:
650 оС
С6Н5СН2СН3 С6Н5СН = СН2 + Н2 − Q
Катализатор
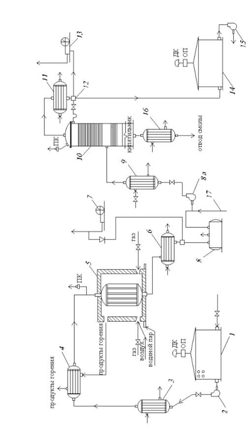
Данная реакция эндотермическая. Технологическая схема производства стирола из этилбензола представлена на рис. 1.
Чтобы жидкий стирол подвергнуть воздействию высокой температуры, его следует подготовить, т. е. испарить, и пары перегреть. Поэтому из резервуара 1 насосом 2 его подают в испаритель 3 для подогрева до температуры 136 оС и испарения, а затем в трубчатый перегреватель 4, где за счет теплоты топочных продуктов реактора его пары перегреваются до температуры 250-300 оС. При такой температуре пары этилбензола поступают в реактор 5. Проходя по трубкам реактора, которые заполнены катализаторной массой и с наружной стороны обогреваются продуктами горения природного газа, пары этилбензола нагреваются до температуры реакции 650 оС и расщепляются с образованием паров стирола, водорода и тяжелых смол.
Образовавшиеся продукты реакции необходимо охладить, отделить стирол от смол, водорода и окончательно его очистить. Поэтому смесь паров и газа из реактора поступает в систему холодильников-конденсаторов 6, где за счет воды и холодильного рассола происходит охлаждение смеси и конденсация паров. Водород и другие газообразные продукты разложения отделяются от жидкости в сепараторе и вакуум-насосом 7 отводятся на последующую утилизацию. Жидкий стирол с примесями (стирол-сырец) поступает в промежуточную емкость 8. Очистка стирола-сырца осуществляется путем ректификации. Сначала следует снизить температурный режим перегонки, чтобы избежать нежелательного интенсивного химического процесса полимеризации. Снижение температурного режима процесса ректификации осуществляется созданием в ректификационной колонне глубокого вакуума.
Стирол-сырец из емкости 8 подают насосом через нагреватель 9 в ректификационную колонну, которая работает при давлении в верхней части 4 кПа (вакуум 730 мм рт. ст.), в нижней – 8 кПа (вакуум 700 мм рт. ст.) и при температуре (соответственно) 45 и 100 оС. Выходящие из колонны пары стирола охлаждаются в конденсаторе-холодильнике 11. Часть жидкого стирола из сепаратора 12 подается в колонну на орошение, а остальная часть поступает в емкость готовой продукции 14. Вакуум в колонне создается вакуум-компрессором 13 за счет интенсивной конденсации паров в холодильнике-конденсаторе, а также отсоса газообразных продуктов и несконденсировавшихся паров из сепаратора 12.
Находящиеся в стироле примеси-смолы из нижней части ректификационной колонны отводятся на охлаждение и дальнейшее использование.
Для снижения способности стирола к полимеризации (как в процессе ректификации, так и при дальнейших хранении и транспортировке) к стиролу сырцу (перед перегонкой по линии 17) добавляют небольшое количество ингибитора (обычно гидрохинон).
Рис. 1. Технологическая схема производства стирола из этилбензола
Таблица 1.1
Данные по аппаратам и помещению
|
Позиция на рис. 1 |
Наименование параметра |
Параметр | |
|
1 |
2 |
3 | |
|
Кожухотрубчатый холодильник-конденсатор | |||
|
6 |
Диаметр, м |
1,1 | |
|
Длина, м |
3,2 | ||
|
Диаметр трубок, мм |
3,5 | ||
|
Длина трубок, м |
3,0 | ||
|
Давление в межтрубном пространстве, МПа |
0,4 | ||
|
Давление в трубках, МПа |
0,3 | ||
|
Температура, оС |
10 | ||
|
Хладоагент (рассол, вода) |
Рассол | ||
|
Температурный компенсатор |
есть | ||
|
Вакуум-компрессоры для удаления водорода | |||
|
7 |
Давление газа на стороне нагнетания, МПа |
0,17 | |
|
Давление газа на стороне всасывания, МПа |
3,8 | ||
|
Температура, оС |
35 | ||
|
Производительность насосов, л/с |
70 | ||
|
Диаметр линий, мм |
70 | ||
|
Отключение задвижек |
Авт. | ||
|
Расстояние до задвижек |
10 | ||
|
Промежуточная емкость стирола-сырца | |||
|
8 |
Расположение емкости |
В помещении | |
|
Размеры помещения емкости: |
длина |
7 | |
|
ширина |
5 | ||
|
высота |
4 | ||
|
Диаметр, м |
2,2 | ||
|
Высота, м |
2,7 | ||
|
Температура, оС |
25 | ||
|
Защита дыхательных линий |
ДК с ОП | ||
|
Измерение уровня |
Мерное стекло | ||
|
Степень заполнения |
0,95 | ||
|
Диаметр линий, мм |
75 | ||
|
Наличие аварийного слива |
Нет | ||
|
Компрессорная станция для удаления водорода | |||
|
7 |
Ширина помещения, м |
10 | |
|
Длина помещения, м |
12 | ||
|
Высота помещения, м |
8 | ||
|
Кратность аварийной вентиляции, 1/ч |
6 | ||
|
Скорость воздуха в помещении, м/с |
0,5 | ||
|
Количество компрессоров, шт. |
2 | ||
|
Площадь остекления, м2 |
15 | ||
